Экспериментальные исследования изменения гидравлических характеристик трубопровода от температуры на малом гидравлическом стенде
Экспериментальные исследования изменения гидравлических характеристик трубопровода от температуры на малом гидравлическом стенде
Аннотация
Представлены результаты натурных исследований по проведению экспериментов по определению коэффициента гидравлического трения λ трубопровода из полиэтилена ПЭ 80 PN 16 SDR 6 наружным диаметром 12 и внутренним d=10 мм на экспериментальной установке при различных температурах стенки трубопровода и стабильной начальной температуре транспортируемой по нему воды. Получены зависимости, характеризующие изменение потерь напора на испытуемом участке трубопровода с пересчетом их величин на значения коэффициентов гидравлического трения. Произведен анализ зависимостей коэффициента гидравлического трения от температуры стенки трубопровода, что позволило разработать методику расчета энергоэффективности работы трубопровода в зависимости от коэффициента гидравлического сопротивления и сопоставить расчеты со стандартной методикой расчета энергоэффективности через коэффициент удельного сопротивления. Показано, что использование предложенной методики, учитывающей температурный фактор, обеспечивает возможность экономии электроэнергии при транспортировке воды при разработке проектов строительства и реконструкции трубопроводов, эксплуатируемых в различные сезоны года.
1. Введение
На сегодняшний день эффективное управление потреблением электроэнергии в различных отраслях производства рассматривается как важнейший инструмент для достижения основных целей в области энергоэффективности . В частности, при проектировании новых и реконструкции существующих напорных трубопроводных систем учитывается ряд ключевых аспектов, обеспечивающих их надежность, энергоэффективность и долговечность .
С появлением на строительном рынке новых материалов для строительства новых и реновации ветхих трубопроводных систем напорного водоснабжения возникает необходимость уточнения их гидравлических характеристик, значения которых непосредственно влияют на энергетические характеристики при транспортировке воды. Так, например, существенный вклад в развитии данной тематики привносят работы, направленные на изучение внутренней шероховатости трубопроводов и ее трансформации в процессе эксплуатации трубопровода . Продолжается вести работа по получению эмпирических зависимостей коэффициента гидравлического трения от относительной эквивалентной шероховатости стенок трубопровода и безразмерного числа Рейнольдса для разных областей турбулентной зоны гидравлических сопротивлений труб . Имеются экспериментальные исследования кинематической структуры потока и гидравлического коэффициента трения напорных водоводов в зависимости от формы поперечного сечения . Помимо этого, научным сообществом, особое внимание уделяется температурному фактору окружающей среды и транспортируемой воды .
В связи с этими обстоятельствами изучение новых строительных материалов для трубопроводных сетей и, в частности, широкое применение полимерных материалов приобретает первостепенное значение для практики обеспечения надежного водоснабжения .
Важнейшим элементом в данных исследованиях является достижение эффекта энергосбережения при транспортировке воды, которое может быть оценено посредством ряда факторов, включая плотность воды, ее расход, коэффициент гидравлического сопротивления соответствующего материала трубопровода, коэффициент полезного действия насосной установки .
Традиционной формулой для расчета потребления электроэнергии Э при транспортировке воды в трубопроводе соответствующего диаметра является представленная ниже (1):
где Аi — коэффициент удельного сопротивления материала стенок трубопровода с2/м6; l — протяженность трубопровода, м
Окончательный вид формулы для определения потребления электроэнергии при транспортировке воды с учетом температурного фактора приобретает вид (3):
где Аi — коэффициент удельного сопротивления материала стенок трубопровода с2/м6; l — протяженность трубопровода, м
Окончательный вид формулы для определения потребления электроэнергии при транспортировке воды с учетом температурного фактора приобретает вид (3):
Целью данного исследования является установление зависимости величины энергопотребления от коэффициента линейного гидравлического сопротивления при неизотермических условиях движения воды, с учетом современных материалов, используемых в трубопроводных системах. Используя представленные формулы, проводится сопоставление эффекта энергопотребления при транспортировке воды по трубопроводам при различных температурах окружающей среды и воды.
2. Методы и принципы исследования
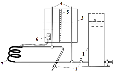
В качестве установки для проведения гидравлических экспериментов с использованием операций по нагреву трубопровода из полиэтилена ПЭ 80 PN 16 SDR 6 наружным диаметром 12 и внутренним d=10 мм и определения соответствующих зависимостей потерь напора и коэффициента гидравлического трения использовался малогабаритный стенд, компоновочная схема которого изображена на рисунке 1.

Рисунок 1 - Модель исследуемого малогабаритного стенда, выполненного в виде скрученного в виток полиэтиленового трубопровода малого диаметра, резервуара, панно для пьезометров, терморегулятора:
1 - резервуар с жидкостью определенной температуры; 2 - задвижки; 3 - панно для пьезометров; 4 - прозрачные трубки-пьезометры; 5 - линейка для определения отметок поднятия жидкости; 6 - терморегулятор (электронный МПРТ-11); 7 - скрученный виток полимерный трубопровод в греющем кабеле, обмотанным в специальную защитную пленку
Длина испытуемого гибкого полиэтиленового трубопровода (ПЭ 80 PN 16 SDR)наружным диаметром 12 и внутренним d=10 мм была принята равной l=7,5 м. При использовании в экспериментах электронного терморегулятора МПРТ-11 для сохранения и поддержания стабильной температуры по всей длине трубопровода и обеспечения компактности потребовалось скрутить его в виток (диаметром 0,5 м) и поместить в греющий кабель с дополнительной обмоткой специальной защитной липкой пленкой (скотчем), препятствующей потерям теплового излучения и поддержания тем самым стабильной температуры стенки трубопровода в период проведения экспериментов при соответствующих температурах. Причем скрутка полимерного трубопровода в виток осуществлялась при сохранении его круглого живого сечения, т.е. без смятия по всей длине трубы. Таким образом, после скрутки образовалась конструкция из 5-ти одинаковых соприкасающихся друг с другом витков (рисунок 2).

Рисунок 2 - Образец скрученного трубопровода в витки

Рисунок 3 - Фрагмент терморегулятора МПРТ-11

Рисунок 4 - Фрагмент греющего кабеля от терморегулятора

Рисунок 5 - Фрагмент защитного кожуха для витков

Рисунок 6 - Малогабаритный гидравлический стенд с терморегулятором, трубками-пьезометрами

Рисунок 7 - Выборочные фрагменты малогабаритного гидравлического стенда с скрученным и помещенным в защитный кожух трубопровод и панно с мерной линейкой
– определение местных потерь напора hм как разница показаний пьезометров в начале и конце трубопровода, по которому поступает вода из резервуара с жидкостью в мерную емкость, где определяются величины ее расхода Q и скорости течения V;
– расчет местных сопротивлений ξмпо формуле Вейсбаха :
– перерасчет полученных значений местных сопротивлений ξм на потери напора по длине λ, т.е. использование так называемой «эквивалентной длины местного сопротивления» (участка данного трубопровода диаметром d и длиной lэкв =7,5 м, где потери напора по длине равны местным потерям напора λ= ξм) в виде следующих математических выражений:
Из последнего соотношения определяется величина λ:
Описанный подход к определению гидравлических показателей оправдан, так как совокупная потеря напора в системе, состоящей из 5-ти одинаковых по длине и конфигурации витков скрученного трубопровода, фактически исчисляется путем простого суммирования местных потерь напора в каждом из витков, как если бы каждое местное сопротивление в витке существовало самостоятельно и независимо от других сопротивлений. Таким образом, примененный метод простого суммирования или принцип наложения потерь позволяет получить объективные доверительные результаты.
Эксплуатация опытной малогабаритной гидравлической системы включает операции по определению величин потери давления (напора) в скрученном трубопровода hм, что отражается в виде разницы подъема воды на двух трубках-пьезометрах. Определение величины расхода воды Q, поступающего из резервуара по скрученному трубопроводу, производилось, как указывалось ранее, объемным способом, а регулирование расхода малогабаритным вентилем.
Конечным результатом экспериментов являлось построение соответствующих графиков зависимости hм=f(Q) в различных условиях изменения расходов Q и температур стенки трубопровода, а также зависимости λ=f(t0) при тех же значения расходов и температур.
3. Результаты и дискуссия
В результате исследований были опробованы соответствующие специальные подходы, которые позволили выявить тенденции изменения гидравлических характеристик потока, проходящего через греющий кабель. В частности, из резервуара к полиэтиленовому трубопроводу направлялась вода с температурой в интервале tж=14–180С (в среднем 160С). Такая относительно стабильная температура tж и давление воды в период проведения натурных исследований в течение всего цикла экспериментов обеспечивалась регулярным поступлением водопроводной воды в резервуар. Контроль за соответствующей температурой стенки скрученного в витки трубопровода в период всех опытов осуществлялся с использованием датчиков, а температура воды контролировалась термометром. Контроль расхода воды, как упоминалось выше, осуществлялся объемным методом.
Основной задачей проводимых экспериментальных исследований являлось подтверждение принципиальной гипотезы, заключающейся в том, что нагрев стенки трубы оказывает влияние на гидравлическое сопротивление трубопроводов, что может быть объяснено определенным соотношением величин динамических вязкостей, которые относятся соответственно к температуре окружающей среды (в данном случае стенки трубопровода, например, находящегося в помещении при соблюдении стабильных температур транспортируемой воды).
Ниже представлены результаты натурных исследований, выполненных на малогабаритном стенде при следующих условиях: температурах трубопровода t = 17, 30 и 350С и средней температуре воды в период проведения экспериментов tж=160С.
В качестве примера результаты исследований при температуре стенки трубы 300Cприведены в таблице 1.
Таблица 1 - Выборочные результаты натурных исследований на малогабаритном стенде при температуре воды 160C и стенки трубы 300C
Расход Q, м3/с | Скорость течения воды V, м/с | Показания на пьезометре, см | Разница в показаниях пьезометров h =1–2, см | Расчетная величина ξм | Расчетная величина λ | ||
1 | 2 | ||||||
0,000006 | 0,07643 | 38,6 | 37,8 | 0,8 | 26,84 | 0,0357 | |
0,0000081 | 0,1032 | 38,6 | 36,3 | 2,3 | 42,32 | 0,0564 | |
0,00000833 | 0,106 | 38,5 | 36,2 | 2,3 | 40,12 | 0,053 | |
0,00001475 | 0,188 | 37,3 | 31,1 | 6,2 | 34,38 | 0,0458 | |
0,00002075 | 0,264 | 35,3 | 26,6 | 8,7 | 24,46 | 0,0326 | |
0,0000315 | 0,401 | 32,9 | 17,6 | 15,3 | 18,65 | 0,0248 | |
0,000021 | 0,267 | 32,0 | 23,0 | 9,0 | 24,74 | 0,0329 | |
0,000035 | 0,445 | 36,8 | 20,6 | 16,2 | 16,03 | 0,0213 | |
0,00001375 | 0,175 | 35,7 | 31,4 | 4,5 | 28,8 | 0,0384 | |
0,000006 | 0,07643 | 40,2 | 39,1 | 1,1 | 36,91 | 0,0492 | |
Полученные по результатам экспериментов зависимости h=f(Q) для трех температур стенки трубопровода в виде графиков представлены на рисунке 8.

Рисунок 8 - Графики изменения потерь напора h транспортируемой воды от ее расхода Q для при разных температурах t стенки трубы
Примечание: синяя для 170С, красная 300С и зеленая 350С
– при разных температурных условиях окружающей среды (трубопровода) достигается определенный эффект влияния температуры на потери напора;
– выявлен линейный характер изменения потерь напора и установлена определенная связь: чем больше температура трубопровода, тем меньше становятся потери напора в нем;
– полученные зависимости свидетельствуют о том, что изменение величины динамической вязкости жидкости (за счет увеличения температуры стенки трубы) способствует изменению гидравлических сопротивлений трубопровода, чем в практической деятельности необходимо воспользоваться специалистам при проектировании трубопроводных систем для отличающихся во времени температурных параметров их эксплуатации.
Таким образом, полученные результаты натурных экспериментов подтверждают гипотезу о влиянии температурных условий на изменение гидравлических сопротивлений .
Обобщая представленные выше результаты по проведенным экспериментальным исследованиям, можно сделать вывод, что средние значения коэффициентов гидравлического трения составляют следующие величины: при температуре 170С λср = 0,045; при температуре 300С λср = 0,039; при температуре 350С λср = 0,0345. Таким образом, была выявлена тенденция уменьшения коэффициента гидравлического трения при повышении температуры стенки трубы, т.е. λср=f(t0), которые представлены в графическом виде ниже в исследуемом диапазоне 17-350С (рисунок 9).

Рисунок 9 - Зависимость коэффициента гидравлического трения от температуры стенки трубы λ=f(t)
Промежуточным выводом из полученных результатом является заключение о том, что, варьируя величинами температуры стенки трубы при неизменной температуре транспортируемой воды, целесообразно использование для расчета гидравлических параметров, а также значений величин энергопотребления разработанный авторами автоматизированный комплекс . Для этого в автоматизированную программу, алгоритм которой включает формулы (2) и (3), вводятся параметры протяженности и диаметра трубопровода, расхода транспортируемой воды, температур воды и стенки трубопровода, коэффициента удельного сопротивления А для соответствующего материала трубопровода и к.п.д. насосной установки.
В качестве примера рассмотрен вариант транспортировки воды по трубопроводу из полиэтилена ПЭ 80 SDR 17 внутренним диаметром d=0,0968 м) при расходе воды Q=0,008 м3/с, к.п.д. насосной установки ηp=0,95, температур воды и стенки трубопровода при наземной прокладке трассы соответственно (Тв1=100С) и (Тт1=200С в ночные часы и Тт2=300С в полдень), т.е. для региона с жарким климатом. В алгоритме автоматизированной программы задействована формула для определения коэффициента удельного сопротивления А=0,0009d-5,2146 для полимерного трубопровода ПЭ 80 .
Для случая ночного времени суток при температуре стенок трубопровода Тт1=200С потребление электроэнергии Эλ, подсчитанное по формуле (3), составляет 7993,43 кВт.ч в год, а при Тт2=300С 7613,03 кВт.ч в год. Разница в экономии электроэнергии при транспортировке воды в ночные часы составляет 4,75%. В то же время расчет потребления электроэнергии ЭА по формуле (2) для ночного и дневного времени суток показывает идентичный результат (8094,99 кВт.ч в год), так как значение температурного фактора не учитывается.
4. Заключение
1. В результате стендовых гидравлических испытаний трубопровода заданной длины, изготовленного из полиэтилена ПЭ 80 PN 16 SDR 6 была подтверждена гипотеза о влиянии температурных условий на потери напора для трубопроводов, выполненных из полимерных материалов, а именно установлена зависимость изменения коэффициента линейного гидравлического сопротивления от температуры стенки трубопровода.
2. По результатам анализа полученных данных для полимерного трубопровода ПЭ 80 SDR 6, зафиксирована тенденция уменьшения коэффициента гидравлического трения на относительную величину, равная 1,29% при повышении температуры стенки трубы на 10С.
3. Базируясь на результатах работы специального автоматизированного комплекса, рассмотрен вариант транспортировки воды по трубопроводу из полиэтилена ПЭ 80 SDR 17 при разных значениях температур стенки трубопровода и воды, где при прочих равных условиях экономия электроэнергии составила 4,75%.
