БАЛЛАСТИРОВКА АВАРИЙНОГО СУДНА ПРИ ПОСАДКЕ НА МЕЛЬ
БАЛЛАСТИРОВКА АВАРИЙНОГО СУДНА ПРИ ПОСАДКЕ НА МЕЛЬ
Аннотация
Реализуется методика балластировки аварийного судна при посадке на грунт и предотвращения его выбрасывания силами волн и ветра на мель. Рассмотрена математическая модель позиционирования судна при контакте с дном акватории путем принятия и перемещения жидкого балласта вдоль корпуса. Предложены расчетные зависимости и номограммы для определения рационального количества балласта, его позиционирования и перемещения. Даны рекомендации по предотвращению дрейфа судна во время аварийного контакта с грунтом. Выяснено, что предложенные графические зависимости повысят эффективность предотвращения дрейфа аварийного судна и будут способствовать подготовке экипажа судна к ухудшению погодных условий, уменьшению степени повреждений и объема спасательных работ. Количественная регламентация балластировки позволит преодолеть недостатки и более успешно использовать этот метод при выполнении аварийно-спасательных работ. Авторами предлагается создание и анализ математической модели аварийного судна, которое подлежит балластировке и в то же время дрейфует под воздействием ветра и волн в условиях мелководья и с высокой вероятностью выброса судна на мель.
1. Введение
Балластировка аварийного судна после непредвиденной посадки на грунт известна как наиболее эффективный способ предотвращения дальнейшего выброса судна на мель. Опыт морской практики , и соответствующие нормативно-правовые акты в данной сфере , , определяют и регламентируют качественную сторону поставленного вопроса. На практике сложились утверждения: если судно село на мель, то принятие жидкого балласта в любом количестве создает благоприятное действие. Иной вариант — балластировать судно до прекращения дрейфа, а при его возобновлении продолжить прием балласта.
Вполне логично, что указанный подход не способствует стабилизации аварийной ситуации и, более того, вносит неуверенность и неоднозначность действий экипажей аварийных судов.
Цели и постановка задач исследования:
– разработать математическую модель качки судна на мелководье для расчёта присоединённых масс забортной воды и их геометрических характеристик в зависимости от глубины, степени волнения и главных размерений судна;
– выяснить принцип взаимодействия волнового сопротивления на мелководье для подводной части корпуса судна с характеристиками присоединённых масс забортной воды при больших амплитудах бортовой и килевой качки;
– разработать расчетные зависимости и номограммы для определения рационального количества балласта, его позиционирования и перемещения для снятия судна с мели.
При этом общепринятая гидродинамическая модель процесса выброса судна на мель предусматривает соответствующую схематизацию физических явлений. В качестве научного метода приняты положения линейной гидродинамической теории качки в условиях мелководья согласно методике, предложенной в работе . Силовые воздействия ветра и волн на судно, которое дрейфует в зоне мелководья, приводит к периодическим ударам корпуса о грунт.
2. Основные результаты
Влияние мелководья на присоединенные массы плоскостного контура λ22, λ23 получено путем усреднения зависимостей Т.Н. Хавелока, Ю.М. Гулиева, Д. Прохаски , для шпангоутов с коэффициентом полноты от 0,7 до 0,9.
Интерполяционная зависимость этого осреднения выражается коэффициентом
где d — осадка судна, м; Н — глубина акватории, м.
В то же время рассматриваемые зависимости получены из опытов вертикальной вибрации контуров на невозмущенной свободной поверхности, поэтому не учитывают параметров волнения. Для приближенного оценивания присоединенных масс судна при вертикальных колебаниях использовались теоретические зависимости Д. Воссерса для круглого цилиндра, совершающего колебания на мелкой воде, а также результаты исследования качки крупнотоннажных судов на портовых акваториях, приведенные В.В. Бурячком . Для полностью развитого волнения эта зависимость аппроксимируется выражением
где σ0 — частота волнения, с-1; В — расчетная ширина судна, м; g = 10 м/с2 — ускорение силы тяжести.
Следует учесть, что на мелководье по мере уменьшения относительной глубины
в связи с этим для сохранения физического смысла коэффициентов необходимо задать их числовые значения. Учитывая, что теоретические зависимости присоединенных масс λ22, λ23 от относительной глубины
При этом зависимость присоединенных масс от частоты качки принимаются аналогично с зависимостью (2)
Для мелководья отношение
С выходом на мелководье морские волны видоизменяются. Длины и высоты волн изменяются таким образом, что крупные волны уменьшаются по длине, а малые–растут с высотой. Рост высоты гребня и одновременное уменьшение глубины западения учитывается поправкой
где λ — длина волны, м; h — высота волны, м; ξA — абсцисса волны, м.
Учитывая вышеприведенное, а также уравнения для гидродинамических сил , составлена авторская система уравнений, описывающая процесс выброса судна на мель и отражающая влияние балластировки аварийного судна на данный процесс. При этом использованы уже известные зависимости высоты волны от ее частоты , а также принята во внимание подвижная система координат, предложенная в кораблестроении (рис. 1). Здесь и далее система (x; y; z) — подвижная система координат относительно центра тяжести судна G. Система (ξ; η; ζ) является неподвижной системой координат соответственно центру колебаний судна О во время качки.

Рисунок 1 - Общекорабельная система координат при качке судна
где первое выражение системы — уравнение вертикальной качки; второе — уравнение поперечно-горизонтальной качки; третье — изменение присоединенных масс и коэффициентов демпфирования; четвертое — поправка амплитуды волны при ходе на мелководье; пятое — частота развитого волнения; шестое — изменения глубины при дрейфовании на мели; D — водоизмещение без балласта, кН; РБ — вес балласта, кН; γ — удельный вес забортной воды, кН/м3; S0 — площадь ватерлинии, м2; f1 и f2 — соответственно площадь носовой и кормовой части ватерлинии, м2; +x1 и -x2 — соответственно центры тяжести носовой и кормовой частей ватерлинии, м2; cW — коэффициент полноты ватерлинии; ξ, η, ζ — соответственно абсцисса, ордината и аппликата неподвижной системы координат, м; α – максимальный угол волнового склона, рад.
Для численного примера рассмотрены два судна: многоцелевое судно типа река-море «Николай Леонов» проекта RSD59 и буксир «Феникс» проекта TG05. Выбор именно этих судов определяется тем, что они охватывают широкий диапазон изменений коэффициентов присоединенных масс и демпфирования. Основные характеристики этих судов приведены в таблице 1. Влияние же балластировки на параметры столкновения корпуса с грунтом при высоте волны 2 м приведено на рисунке 2.
Таблица 1 - Основные характеристики теплоходов «Николай Леонов» и «Феникс»
Характеристика, единица измерения | Числовое значение | |
«Николай Леонов» | «Феникс» | |
Водоизмещение, т | 9705 | 494 |
Длина между перпендикулярами, м | 137,0 | 26,80 |
Ширина на миделе, м | 16,9 | 10,60 |
Высота борта, м | 6,0 | 4,50 |
Осадка по КВЛ, м | 4,70 | 2,90 |
Водяной балласт, т | 6303 | 97,0 |
Валовая вместимость, рег. т | 3526 | 414 |

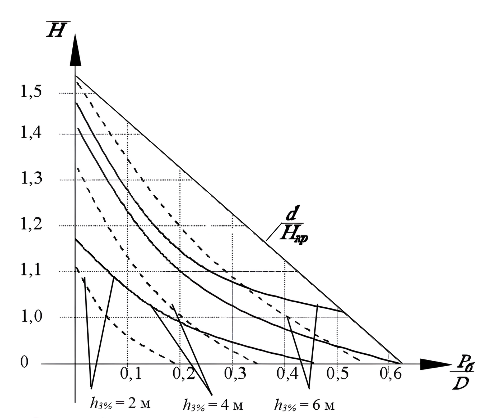
Рисунок 2 - Влияние балластировки на параметры соприкосновения корпуса с грунтом при h = 2 м
Примечание: относительное количество балласта

Рисунок 3 - Диаграмма необходимой балластировки судна для буксирных и рыболовных судов, для транспортных судов
При определении нужного количества балласта для предотвращения дрейфа необходимо «войти» в диаграмму с величиной относительной аварийной осадки
Оригинальность и научная новизна заключается в следующих утверждениях:
– впервые получена модель качки судна на мелководье для расчёта присоединённых масс забортной воды и их геометрических характеристик в зависимости от глубины, степени волнения и главных размерений судна;
– получили дальнейшее развитие принципы взаимодействия волнового сопротивления на мелководье для подводной части корпуса судна с характеристиками присоединённых масс забортной воды при больших амплитудах бортовой и килевой качки;
– усовершенствованы, а также разработаны новые расчетные зависимости и номограммы для определения рационального количества балласта, его позиционирования и перемещения для снятия судна с мели.
3. Заключение
Сравнение результатов использования диаграммы с данными фактических балластировок доказывает, что фактически принятое количество балласта на судах, попавших в аварию без груза — избыточное, а на судах в грузе — недостаточное. Учет динамики в указанных задачах снижает величину необходимого балласта примерно в 1,5 раза при использовании в расчетах волн с 3% обеспеченностью.
Таким образом, приведенная диаграмма позволяет определить минимальное количество балласта, необходимое для предотвращения дрейфа судна на мели. Принятие меньшего количества балласта нецелесообразно.
В качестве практического примера приведем следующее: аварийное судно «сидит» на каменистом грунте, днище имеет большие повреждения, забалластированы все свободные танки, в трюмах находится груз, который портится от соленой воды, получено штормовое предупреждение. Подобных ситуаций описано на практике множество, в том числе в интернет-ресурсах , , в научной, справочной и художественной литературе , , , .
