МЕХАНИЧЕСКАЯ МОДЕЛЬ ПРОЦЕССА ОТРЫВА СООРУЖЕНИЙ ОТ ГРУНТА
МЕХАНИЧЕСКАЯ МОДЕЛЬ ПРОЦЕССА ОТРЫВА СООРУЖЕНИЙ ОТ ГРУНТА
Аннотация
В настоящее время обращается большое внимание вопросам активности производства, в частности, связанным с освоением природных ресурсов шельфа. В России площадь шельфов составляет около 10 млн. км2, двадцать пять процентов которых перспективны в нефтегазовом отношении. При работе в открытом море используются гравитационные платформы, которые испытывают значительные волновые и ветровые нагрузки, вызывающие значительные отрывающие усилия. В статье описана механическая модель процесса отрыва сооружения от грунта, учитывающая липкость грунтов, процесс предварительного уплотнения грунтов под действием веса сооружения, действие разгружающих и отрывающих нагрузок, физических процессов, которые положены в основу решений по эффективному подъему подводных сооружений.
1. Введение
Вопросы, связанные с определением усилия отрыва, приобретают особое значение в связи с использованием для разведочного и экспериментального бурения на нефть и газ на континентальном шельфе стационарных платформ . Условия строительства платформ в открытом море на больших глубинах, при штормах обусловили к ним требование возможного быстрого демонтажа при их перебазировке и повторной эксплуатации на других месторождениях.
Если ширина сооружения значительно превышает толщину деформируемого слоя грунта, такие условия можно рассматривать как условия одномерной задачи. Этим определяется возможность практического использования решений одномерной задачи реконсолидации грунта. Кроме того, на примере простейшей одномерной задачи наиболее ярко проявляются все особенности исследуемого явления и влияние различных факторов.
Решения одномерной задачи реконсолидации грунта, конечно, имеют весьма ограниченную область применения, в ряде случаев могут рассматриваться как предварительные — оценочные, т.е. в качестве первого приближения. Например, если в результате применения решений одномерной задачи выясняется малая роль процессов реконсолидации или липкости грунта, то при учете пространственных условий загружения основания она (роль) будет еще более незначительной.
Все объемные деформации, сопровождаясь процессами отжатия или притока воды, протекают во времени и поэтому вначале возникают процессы консолидации грунта , , , , затем процессы реконсолидации и после отрыва подошвы сооружения от основания — процессы повторной консолидации.
Сравнительно сложное явление консолидации водонасыщенного грунта можно более наглядно рассмотреть на примере чисто механической модели — элемента грунта на контакте сооружение-грунт, аналогичной механической модели К. Терцаги, которая достаточно хорошо описана в литературе, например в работе . Однако информация о механической модели, имитирующей процессы, возникающие при реконсолидации водонасыщенного грунта в открытых источниках отсутствует, что и явилось целью данной работы.
2. Методика исследования
При разработке механической модели, имитирующей процессы, возникающие при реконсолидации водонасыщенного грунта, за базовую была взята классическая модель пороупругости Терцаги, которая представляет собой двухфазную модель грунта, где грунт рассматривается как совокупность твердого скелета и поровой воды. В этой модели механическое поведение грунта описывается взаимодействием деформаций твердой структуры и порового давления жидкости. Модель в первую очередь описывает упругие деформации и процессы фильтрации поровой воды в водонасыщенном грунте, то есть модель консолидации грунта. В этой базовой модели пластические деформации не учитываются — она ориентирована на упругую деформацию и изменение порового давления при уплотнении.
Классическая модель Терцаги была адаптирована для имитации процессов разуплотнения водонасыщенного грунта, возникающих при отрыве подошвы сооружений от грунта, с учетом липкости грунта. При этом предлагаемая механическая модель реконсолидации водонасыщеннго грунта имеет следующие допущения.
1. Модель предполагает, что деформации грунта являются полностью упругими и обратимыми. Она не учитывает пластические, необратимые деформации, что ограничивает применение при больших деформациях или при процессах разрушения структуры грунта.
2. Модель рассматривает грунт как пористый, водонасыщенный, однородный и изотропный материал, что не всегда соответствует реальным сложным структурам грунтовых массивов.
3. Модель не учитывает влияние химических реакций, изменения состава поровой воды или биологических процессов, которые могут влиять на свойства грунта.
4. Рассматривается только одна поровая вода, без учета наличия газа.
Была проведена экспериментальная верификация предлагаемой модели в результате проведенных лабораторных испытаний и сопоставления экспериментальных данных с результатами предлагаемой модели.
3. Результаты и обсуждение
В предлагаемой механической модели реконсолидации водонасыщенного грунта, в частном случае мгновенного приложения только отрывающей нагрузки (qотр) к ранее уплотненному грунту липкость (L) моделируется нерастяжимой связью между двумя поршнями: верхним — сплошным и нижним – перфорированным (рис.1а).

Рисунок 1 - Механическая модель процесса отрыва сооружения от грунта в частном случае постоянной отрывающей нагрузки и учета липкости грунта при мгновенном приложении нагрузки в момент времени t = 0 (а), нарушение контакта сооружения с грунтом при s = L (б), заполнение водой полости между сооружением и грунтом (в)
Растягивающее напряжение в пружине (s) и равное ему усилие связи между поршнями постепенно увеличивается и при достижении величины s = L в момент времени t = tL происходит разрыв связи (рис.1б), т.е. моделируется нарушение контакта поршня (сооружения) с грунтом.
В результате (рис.1в) при продолжившемся движении сплошного поршня вверх будет наблюдаться заполнение водой полости между поршнями (напомним, перфорированным поршнем моделируется поверхность грунта). Одновременно будет наблюдаться процесс сжатия упругой пружины (скелета грунта), вызывающий отжатие воды из сосуда в образующуюся полость через отверстия перфорированного поршня. Таким образом, давление в воде сосуда постепенно увеличивается с p = qотр. – L до p = q отр, а растягивающие напряжения в пружине падают от s = L до 0. В самой полости между поршнями давление сохраняется все время постоянным. Время выхода сплошного поршня из сосуда соответствует моменту отрыва сооружения от грунта t = tотр.
Более полная механическая модель процесса представлена на рис.2. Здесь липкость грунта моделируется «липкой» вставкой между сплошным и перфорированным поршнями, это позволяет проследить за процессом изменения величины липкости при расплющивании липкой вставки, что обусловлено возрастающим напряжением в скелете грунта (пружине).

Рисунок 2 - Механическая модель процесса уплотнения и реконсолидации грунта с учетом липкости грунта, имитирующая исходное состояние грунта до приложения нагрузки (а), мгновенное приложение уплотняющей нагрузки (б), процесс отжатия воды из пор грунта и уплотнение грунта (в), разгрузку грунта при приложении отрывающей нагрузки q < qсоор (г), момент начала заполнения водой полости между сооружением и грунтом при q > qсоор и s = L (д), отрыв сооружения от дна акватории в момент времени t = tотр (е)
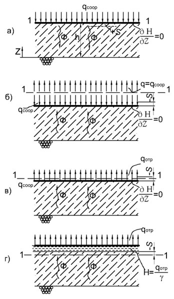
Переходя к случаю слоя сжимаемого грунта на дренирующем основании (рис.3),

Рисунок 3 - Этапы последовательной нагрузки (а), разгрузки (б), приложения отрывающего усилия (в) и заполнения полости под сооружением водой (г)
Соответствующий характер развития избыточного давления в поровой воде и вертикальных перемещений (s) сооружения можно проследить на графиках рис. 4.

Рисунок 4 - Графики загрузки и разгрузки грунта (а), изменения избыточных давлений в поровой воде грунта (б) и вертикальных перемещений сооружения во времени (в)
4. Заключение
В работе представлена механическая модель, имитирующая основные физические представления о процессах консолидации и реконсолидации слоя грунта, положенные в основу решений по эффективному подъему подводных сооружений и затонувших судов.
Предлагаемая механическая модель имеет ряд ограничений при использовании: учитываются только упругие деформации грунта; грунт рассматривается как однородный и изотропный материал, что не всегда соответствует реальным сложным структурам грунтовых массивов; модель не учитывает влияние химических реакций, изменения состава поровой жидкости или биологических процессов, которые могут влиять на свойства грунта. Кроме того, рассматривается только одна поровая вода, без учета наличия газа.
В связи с этими ограничениями предлагаемая механическая модель применяется преимущественно для анализа упругих деформаций водонасыщенных грунтов при малых нагрузках и в условиях, где пластические и необратимые процессы незначительны. Для более сложных случаев требуются расширенные или модифицированные модели.
