Расчетно-экспериментальное исследование влияния приточной вентиляции на скорость остывания натриевого теплоносителя внутри холодной фильтр-ловушки
Расчетно-экспериментальное исследование влияния приточной вентиляции на скорость остывания натриевого теплоносителя внутри холодной фильтр-ловушки
Аннотация
Во время нормальной эксплуатации атомных электростанций (далее АЭС) с жидкометаллическим теплоносителем происходит загрязнение натрия, циркулирующего в первом и втором контурах, различными примесями. Скорость охлаждения натриевого теплоносителя в холодной фильтр-ловушке является наиболее важным аспектом безотказной и надёжной эксплуатации атомной электростанции. В настоящей работе представлено 3D-моделирование в вычислительном пакете SolidWorks Flow Simulation для определения скорости охлаждения натрия в холодной фильтр-ловушке под воздействием приточного вентиляционного агрегата при различных параметрах охлаждающего воздуха. Также в нашей работе были получены зависимости параметров охлаждающего воздуха от сезонности проведения планово-предупредительного ремонта (далее ППР).
1. Введение
В настоящее время все больше внимания уделяется развитию ядерной энергетики как в мире, так и в России. Отдельного внимания заслуживает направление быстрых реакторов, которые обладают многими преимуществами и являются одним из главных элементов в цепи замыкания ядерного топливного цикла. На данный момент в России действуют два промышленных реактора на быстрых нейтронах БН-600 и БН-800, которые расположены на Белоярской АЭС. Оптимальным теплоносителем для таких реакторов является натрий, благодаря удачному сочетанию физических, теплофизических и коррозионных характеристик , .
По причине высокой активности натрия применение его в качестве теплоносителя влечет за собой некоторые ограничения при его эксплуатации, такие как поддержание необходимой чистоты теплоносителя в процессе всего периода эксплуатации ядерно-энергетической установки (ЯЭУ) , .
Главными источники загрязнения являются примеси, не выведенные при получении натрия, и примеси, обусловленные технологией, собранные при загрузке в накопительные или транспортные ёмкости. Аварийное загрязнение натрия примесями, образованными от взаимодействия натрия с водой в случае разгерметизации теплопередающих поверхностей в парогенераторе, является одним из основных вопросов нормальной эксплуатации АЭС .
Неизбежное поступление воздуха в натриевые трубопроводы в процессе проведения как ремонта, так и операций по продлению эксплуатации влечет за собой появления примесей в натрии, которые могут вызывать отложение этих примесей на поверхностях трубопроводов, поверхностей теплообмена, повышение коррозионных эффектов, ухудшение радиационной обстановки на установке и другое. Количественное содержание кислорода в теплоносителе может повлиять на изменение процессов в ЯЭУ. Повышенное содержание кислорода может привести к активному окислению натрия, вследствие которого появляется окись натрия, которая при низких температурах будет отлагаться в виде твердого осадка при температуре ниже температуры насыщения окисью .
В случае превышения содержания примесей в теплоносителе эксплуатация атомной станции становится невозможной из-за возможности отказа систем и оборудования. Останов АЭС для очистки натрия является невыгодным. Именно для таких случаев предусмотрены специальные устройства для очистки жидкометаллического теплоносителя.

Рисунок 1 - Принципиальная конструкция ХФЛ
Примечание: 1 – центральная труба подачи натрия внутрь; 2 – блок фильтров; 3 – линия байпаса фильтров; 4 – кольцевая резервная впускная труба для натрия; 5 – воздушное охлаждение (трубки Фильда)
Саму ХФЛ можно разделить по высоте на несколько участков: зона отстойника, зону окончательного охлаждения и зону фильтрации. Натрий, попадая внутрь ХФЛ по центральной трубе, оказывается в зоне охлаждения, где с помощью трубок Фильда снижает свою температуру и происходит насыщение раствора примесями, тем самым избыток примесей закристаллизуется и выпадет в осадок в зону отстойника. Избавившись от избытка примесей натрий попадает в верхнюю часть ХФЛ на секции фильтров, где происходит окончательное охлаждение. Основные характеристики ловушки приведены в табл. 1 .
Таблица 1 - Характеристики ХФЛ
Параметр | Значение |
Расход очищаемого теплоносителя через ХФЛ, т/ч | 8 |
Максимальная температура на входе в отстойник ловушки, С | 300 |
Температура натрия на выходе ловушки, С | 150 |
Время пребывания натрия в объёме ловушки, мин | 45 |
Тепловая мощность ловушки, кВт | 450 |
Теплоноситель системы охлаждения | Воздух |

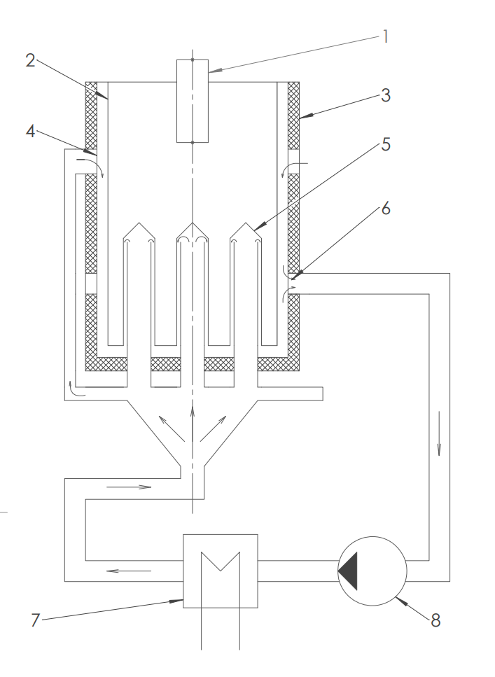
Рисунок 2 - Контур охлаждения ХФЛ
Примечание: 1 – центральная труба; 2 – корпус; 3 – печи электрообогрева и изоляция; 4 – кольцевой зазор подачи воздуха на охлаждение корпуса; 5 – трубки Фильда; 6 – кольцевой зазор выхода воздуха после охлаждения; 7 – водно-воздушный теплообменник; 8 – вентагрегат
При проведении ремонтов со вскрытием оборудования (замене парогенераторных моделей на БН-600) происходит неизбежное загрязнение натрия воздушной средой. При пусковых операциях в процессе выхода энергоблока из ремонта и заполнение третьего контура водой и дальнейшая эксплуатация натриевого контура существует ряд требований к должной чистоте натрия. С целью сократит данные операции по очистке натрия происходит их нагрузка до допустимых значений расхода натрия с ориентиром на температуры в зоне отстойника. Ограничением в данном случае является расход натрия, подаваемый на ловушку, с целью не превышения значения температур отстойника. Ввиду того, что охлаждения воздуха в контуре происходит с помощью воздушного теплообменника, в котором воздух передает свое тепло приточной воде (воде из водохранилища), присутствуют отличие производительности ловушки от сезонности проведения ремонтов .
2. Ход работы
В данной работе был выполнен анализ работы ХФЛ и определены оптимальные параметры производительности ловушки по очистке натрия в зависимости от температуры воздуха, подаваемого на охлаждение ловушки.
В ходе работы было выполнено построение 3-D модели ХФЛ с помощью САПР SolidWorks с целью проведения расчетов по охлаждению натрия внутри ловушки , . Модель ловушки представлена на рис. 3.

Рисунок 3 - 3-D модель ХФЛ
В жаркие летние месяцы вода в Белоярском водохранилище достаточно прогревается до температуры 26-28 ℃, что влечет за собой повышение температуры воздуха на входе в ловушку. Исходя из рассматриваемой конфигурации охлаждения воздуха перед входом в ловушку, выбрана максимальная температура воздуха 60 ℃, что является верхним рабочим пределом по температуре воздуха.
Результаты расчетов трех вариантов представлены на рис. 4. Данные рисунки отображают изменение температуры натрия внутри ХФЛ в зависимости от расхода натрия.

Рисунок 4 - Температура натрия внутри ХФЛ по ее сечению:
а – расход натрия через ХФЛ 3 м3/час; б – расход натрия через ХФЛ 5 м3/час; в – расход натрия через ХФЛ 8 м3/час
Из расчетов видно, что при более низком расходе натрия в ловушку (первый вариант расчета), режим ее работы оптимален и зона отстойника находится в допустимых температурах менее 120 ℃. Данный температурный режим гарантирует проектную работу ловушки и достаточную степень очистки натрия от окислов.
При увеличении расхода натрия на входе в ХФЛ до 5 м3/ч (второй вариант расчета) зона отстойника начинает прогреваться по высоте и уменьшать свой объём. Данная картина свидетельствует о большой температурной нагрузке системы охлаждения и ее предельных параметрах. По мере эксплуатации ХФЛ в зоне отстойника накапливаются отложения, хранятся на протяжении всего времени эксплуатации ловушки. При достаточной загрязненности ловушки примесями в процессе эксплуатации возникает шанс их вымывания с зоны отстойника при дальнейшем увеличении расхода натрия. Данный режим можно охарактеризовать как граничный режим эксплуатации ловушки при неизменной температуре воздуха и температуры натрия на входе в ловушку. При дальнейших увеличениях температуры натрия на входе в ловушку потребуется снижение расхода для достижения оптимальных температурных параметров. Также следует учитывать загрязненность ловушки примесями, которая отражает степень очистки натрия. На практике было выявлено, что в новой ловушке, когда в ней нет или накоплено очень мало окислов натрия и других примесей, все примеси за время их пребывания в ловушке (обычно 15–30 минут) практически полностью осаждаются.
Для третьего варианта расчета при расходе натрия 8 м3/ч можно наблюдать повышение температуры отстойника до 150–160 ℃, что приводит к вымыванию примесей (оксидов, гидроксидов и др) из ловушки и дальнейшее распространение их в натрии. Такой режим эксплуатации ХФЛ неэффективен и не способствует должной очистке натрия. Необходимо поддерживать меньший расход натрия на входе в ловушку для восстановления температурного режима в зоне отстойника 110–120 ℃. В то же время стоит учитывать гидравлическое сопротивление самой ловушки, которое возрастает настолько, что оказывается невозможным номинальный расход через нее при максимальном допустимом для конструкции ловушки перепаде давления.
3. Заключение
Исходя из полученных расчетов, оптимальным режимом работы при повышенных температурах воздуха в районе 60 ℃ на охлаждении является эксплуатация ловушки с расходами 3–5 м3/ч. При данных расходах обеспечивается эффективная очистка натрия, поддержание зоны отстойника в необходимых температурных режимах, при которых сохраняется их твердая фаза и растворения в натрии не происходит. При наличии в контуре источника примесей, например свищ теплообменной трубки парогенератора, данное условие позволит эффективно очищать натрий от примесей и поддерживать его оптимальные тепло-физические характеристики.
